Theo PhoneArena, thị trường bút điện tử thời gian tới sẽ rất sôi động. Đầu tiên là việc bút S Pen của Galaxy Note9 sẽ có nhiều cải tiến như tích hợp Bluetooth, có thể điều khiển nhạc từ xa...
Thứ hai, một hồ sơ xin cấp bằng sáng chế liên quan tới bút, được LG nộp năm 2015, mới được công tuần qua cho thấy ý tưởng của hãng Hàn Quốc khá "điên rồ".
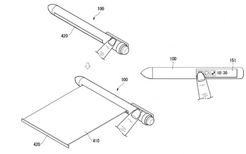
Chiếc bút này không chỉ tích hợp một mà tới hai màn hình. Màn hình nhỏ sẽ hiển thị thời gian, thông báo và các phím tắt tới những ứng dụng hay sử dụng. Trong khi đó, màn hình lớn hơn có thể cuộn lại, ẩn trong bút và sẽ được kéo ra khi người dùng nhấn nút.
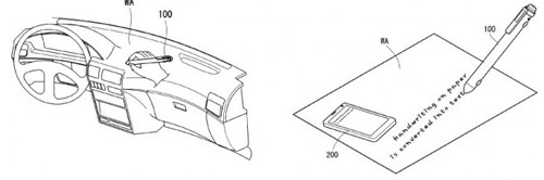
Mục tiêu của LG là chiếc bút nhỏ gọn này sẽ thay thế smartphone với đầy đủ các chức năng như camera, cảm biến tiệm cận, theo dõi chuyển động, nhận diện vân tay... Nó cũng có thể kết nối tới bất cứ thiết bị thông minh nào và khi bạn dùng bút viết trên giấy, bảng..., thông tin sẽ tự động chuyển lên thiết bị điện tử như tablet, điện thoại...
![]() |
| Bút LG có hai màn hình. |
![]() |
| Màn hình chính có thể cuộn lại và mở ra, hoạt động như một màn hình điện thoại. |
![]() |
| Bút tích hợp mic để người dùng gọi điện. |
![]() |
| Thông tin viết trên giấy sẽ được bút chuyển sang các thiết bị như smartphone. |



