Thông tin từ bệnh viện Đa khoa tỉnh Phú Thọ cho biết, bệnh viện vừa cấp cứu thành công cho bệnh nhân H.T.T. (58 tuổi, trú tại Phú Thọ) bị đột quỵ do ong đốt.
Trung tâm Đột quỵ – Bệnh viện đa khoa tỉnh Phú Thọ vừa tiếp nhận trường hợp bà H.T.T (58 tuổi, Phường Thanh Vinh,Thị Xã Phú Thọ) với tiền sử khỏe mạnh, trong gia đình không có ai bị đột quỵ.
Trước khi nhập viện 7 giờ, bệnh nhân xuất hiện tình trạng yếu nửa người trái, ở nhà nghỉ ngơi không đỡ, được gia đình đưa đến cơ sở y tế gần nhất sau đó được chuyển lên Bệnh viện đa khoa tỉnh Phú Thọ cấp cứu và điều trị.
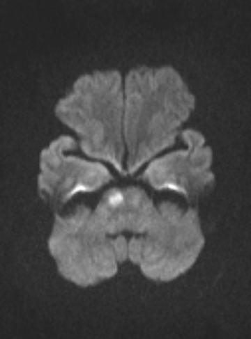
![]() |
| Hình ảnh Cộng hưởng từ sọ não (MRI) của người phụ nữ bị ong đốt: Với xung khuếch tán Diffusion cho kết quả nhồi máu cầu não phải. Ảnh: BV. |
Tại thời điểm vào, bệnh nhân hoàn toàn tỉnh táo, liệt nửa người trái, chỉ số mạch, nhiệt độ, huyết áp, nhịp thở hoàn toàn bình thường. Tuy nhiên khi thăm khám, bệnh nhân có triệu chứng co giật nửa người liệt, các bác sĩ đã khai thác thêm bệnh sử của bệnh nhân.
Theo đó, buổi sáng cùng ngày, bệnh nhân ra vườn hái rau và vô tình bị ong đốt, sau đó đỡ và không để ý.
Hiện tượng đau, sưng và đỏ có thể được quan sát thấy là phản ứng tại chỗ sau khi bị ong đốt.
Bác sĩ Trung tâm Đột quỵ đã hội chẩn và xem xét các tài liệu và nhận thấy trường hợp đột quỵ do ong đốt trên thế giới là rất hiếm.
Sau 4 ngày điều trị, bệnh nhân đã hết méo miệng, bắt đầu cử động được tay, chân.
Khuyến cáo từ trường hợp bị ong đốt, bác sĩ Nguyễn Minh Đức – Trung tâm Đột qụy, Bệnh viện đa khoa tỉnh Phú Thọ cho biết, khi bị bất kỳ côn trùng nào đốt, cần theo dõi sức khỏe sát và tới cơ sở y tế uy tín ngay khi có triệu chứng bất thường.
Nhồi máu não là một biến chứng quan trọng mặc dù hiếm gặp của ong đốt, điều này phải được lưu ý ở những bệnh nhân có biểu hiện yếu tay chân sau khi bị ong đốt.
Hơn nữa, nhận biết vấn đề kịp thời sẽ giúp chẩn đoán và điều trị sớm, giúp bệnh nhân hồi phục nhanh chóng.
